Apple sichert sich Patente, die auf ein VR-Headset hinweisen könnten

apple-logoViele Größen der Technik-Branche haben bereits auf dem VR-Markt für Furore gesorgt. Samsung, Google und Co. setzen allesamt auf Virtual Reality. Nur Apple scheint diesen Sektor bisher nicht allzu ernst zu nehmen, doch neue Patente, die sich der Konzern aus Cupertino gesichert hat, weisen darauf hin, dass sich das geändert haben könnte.

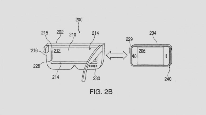
Genauer gesagt, deuten die neue Patente von Apple auf ein fernsteuerbares VR-Headset hin. Von Virtual Reality ist zwar in dem Patent explizit keine Rede, doch der Entwurf, der ein Display in Kopfhöhe zeigt, das über ein iPhone steuerbar ist, lässt diese Schlussfolgerung durchaus zu. Auch wenn eine Zeichnung des Patents ein iPhone zeigt, dass direkt in das Headset integriert wird, steht in der Beschreibung lediglich, dass Bildschirm und Smartphone über einen beliebigen Port verbinden werden. Dass also das iPhone wie etwa bei der Samsung Gear VR direkt integriert werden muss, ist also nicht zwingend gegeben.

apple-vr-patentTim Cook hatte bisher verlauten lassen, dass er mehr von Augmented Reality als von Virtual Reality hält, ein klares Dementi gab es allerdings seitens Apple nicht. Teile des Patent stammen allerdings schon aus dem Jahr 2010 und noch immer gibt es keine Umsetzung seitens des Konzerns, mit konkreten Plänen muss all dies also nicht unbedingt zu tun haben.

Kommentar schreiben